MP2457
入手可能な製品番号
MP2457GJ-P MP2457GJ-Z
P&Zの意味 
関連商品
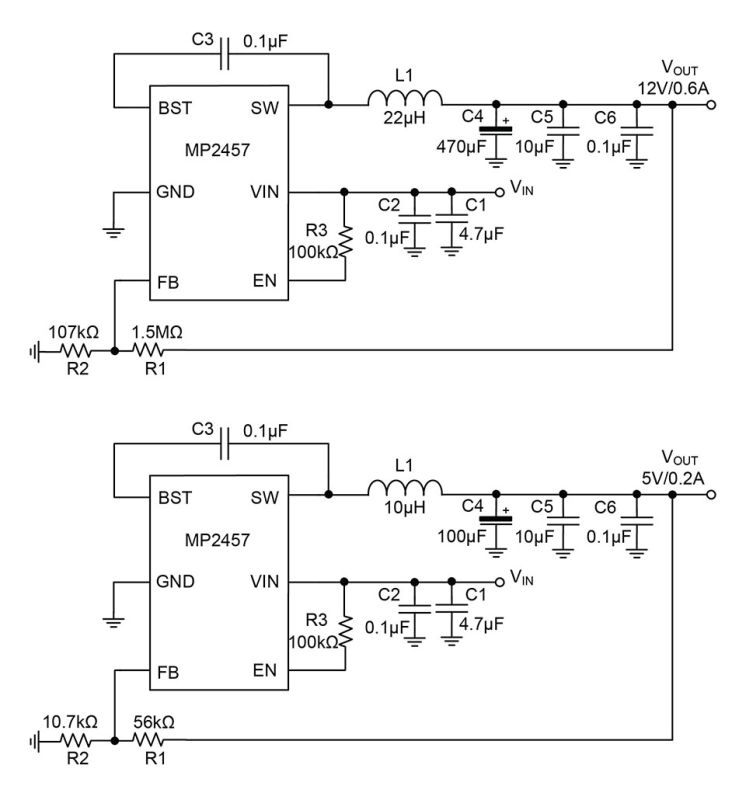
EV2457-T-00A 36V、0.6A、2MHz、同期整流ステップダウンコンバータ用評価ボード
EV2457-T-00A 評価ボードは、電力計アプリケーション向けに特別に設計されたハイサイドおよびローサイドのパワーMOSFETを内蔵した高周波、ステップダウンスイッチングレギュレータであるMPSのMP2457の機能を実証するために設計されています。MP2457は、高速ループ応答用の電流モード制御で、最大0.6Aの出力電流効率を提供します。
5V~36Vの幅広い入力範囲を備えており、さまざまな電力計ステップダウンアプリケーションに対応しています。また、シャットダウンモードでの0.6μAの静止電流 (自己消費電流) により、バッテリー駆動アプリケーションで使用可能です。MP2457は、低い電力計入力電圧状態用に高デューティサイクルおよび低ドロップアウトモードを使用します。
周波数フォールドバックは、起動時に短絡とインダクタ電流の暴走を防ぎます。サーマルシャットダウンは、信頼性が高く、フォールトトレラントな動作を提供します。MP2457は、費用対効果の高いTSOT23-6パッケージで提供されます。
推奨インダクタ
モールドインダクタ 5.6μH
モールドインダクタ 5.6μH
薄型モールドインダクタ 5.6μH
注文
アカウントにログイン
新しいアカウントを作成