Virtex 7 コスト重視電源リファレンスデザイン
リファレンスデザイン
リファレンスデザインの詳細を
2営業日以内に回答します
AMD Xilinx 部品番号
- XC7V2000T
- XC7VX330T
- XC7VX415T
- XC7VX485T
- XC7VX550T
- XC7VX690T
- XC7VX980T
- XC7VX1140T
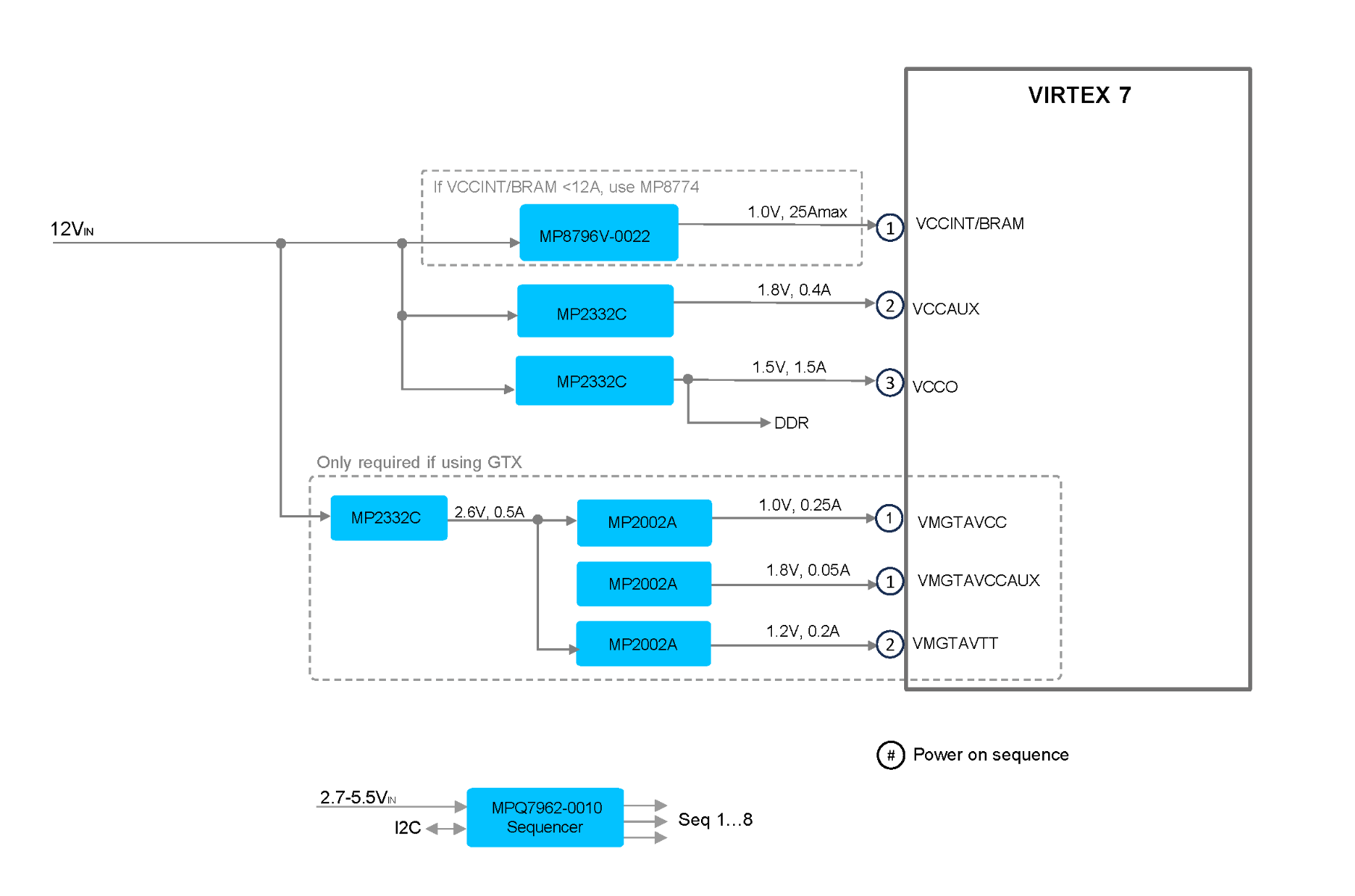
使用されているMPS製品
| 製品型番 | 員数 | 詳細 |
| MP8796V-0022 | 1 | お問い合わせください |
| MP2332C | 2 (オプション: 3) | パワーグッド、ソフトスタート、強制CCM付き、18V、2A、650kHz、同期整流ステップダウンコンバータ |
| MP2002A | (オプション: 3) | 低入力電圧、500mA リニアレギュレータ |
| MPQ7962-0010 | 1 | お問い合わせください |
アカウントにログイン
新しいアカウントを作成